最新资讯
车主都在看
- •本田汽车贴膜价格表 2021款本田crv怎么样 好不好? 08-23
- •丰田卡罗拉百里耗油多少?丰田卡罗拉百里加速要多久? 08-23
- •丰田兰德酷路泽2022最新款价格 丰田兰德酷路泽是霸道吗 08-23
- •一键启动的车怎么启动 10-15
- •车险怎么买最划算?老司机都会买这4种 11-27
- •b2驾驶证怎么考?大概要多少钱? 04-26
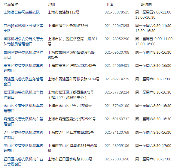
上海车管所主办业务:机动车登记、变更、转移(二手车过户、转籍)、报废、驾驶证申领、换证、补证、非机动车上牌等相关业务。
上海车管所上班时间、电话及地址一览表


注:以上为上海车管所的内容信息,可能会有变更,如有不符,请及时的联系当地就近车管所确认!